解锁空调气液分离器结霜密码:基于
分离器一般分为两种类型,一种是水油分离器,另一种是气液分离器。这两种分离器的使用
气液分离设备的工作原理与类型解析
气液分离设备的工作原理主要基于气液密度差和流体动力学效应。当气体与液体混合时,由
正压与负压旋风分离器的选择与应用
旋风分离器的正压和负压各有优缺点,没有绝对的“更好”。选择哪种压力取决于具体的应
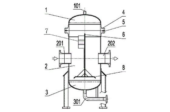
旋风分离器结构剖析与功能全解
旋风分离器是根据旋风除尘原理分离管道内灰尘的除尘装置。旋风分离器的主要功能是尽可
旋风分离器效率提升的实用技巧
旋风分离器的分离效率是指在给定的操作条件下,分离器能够有效地将混合物中的固体颗粒
揭开旋风分离器高效分离背后的误解
旋风分离器已被广泛使用了100多年。它利用旋转气流产生的离心力将尘粒从气流中分离
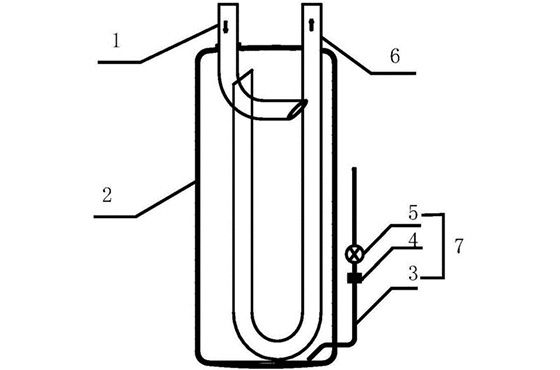
气液分离器如何工作及其多种分离方
气液分离器可安装在气压机的出入口,用于气液分离。分馏塔顶冷凝器后,气相除雾,各种
旋风分离器的性能如何及其有何应用
分离器在我们的工业生产中并不陌生。市场上有很多种分离器。旋风分离器是较为常用的产
