揭开旋风分离器高效分离背后的误解
旋风分离器已被广泛使用了100多年。它利用旋转气流产生的离心力将尘粒从气流中分离
气液分离器如何工作及其多种分离方
气液分离器可安装在气压机的出入口,用于气液分离。分馏塔顶冷凝器后,气相除雾,各种
旋风分离器的性能如何及其有何应用
分离器在我们的工业生产中并不陌生。市场上有很多种分离器。旋风分离器是较为常用的产
如何有效利用旋风分离器实现高效气
在催化裂化装置中,气固接触是一个流态过程。反应或催化剂再生后,气体将携带大量的固
旋风分离器有哪些不同的类型与特点
旋风分离器是循环流化床锅炉的核心部件之一。它的主要功能是将大量的高温固体材料从炉
旋风分离器(除尘器):高效设计与
旋风分离器(除尘器)已广泛使用100多年。它利用旋转气流产生的离心力将灰尘颗粒从
旋风分离器:功能、原理与性能指标
旋风分离器设备的主要功能是尽可能去除输送介质气体中携带的固体颗粒杂质和液滴,实现
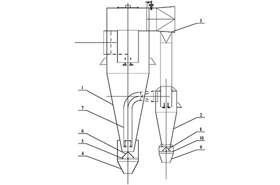
旋风分离器的结构是如何设计的?
旋风分离器采用立式圆筒结构,内部沿轴向分为集液区、旋风分离区、净化室区等内部旋风
