气液分离器是如何实现精准分离的?
发表日期:2025-03-27 15:54:38
浏览量:1064
气液分离器可安装在气压机的出入口,实现气液分离功能。此外,在分馏塔顶冷凝器后,进行气相除雾操作;在各种气体洗涤塔、吸收塔和分析塔中,同样用于气相除雾。气液分离器在工业和民用领域应用广泛,还可用于气体除尘、油水分离、液体除杂等场景。
气液分离器采用多种分离结构,分离方法主要有以下几种:1. 重力沉降;2. 折流分离;3. 离心力分离;4. 丝网分离;5. 超滤分离;6. 填料分离 。总体而言,这些分离方法基于两种原理:
1、利用组分质量(重量)差异分离混合物:如重力沉降、折流分离、离心力分离和填料分离。由于气体与液体密度不同,相同体积下,气体质量小于液体,基于此可实现二者分离。
2、利用分散系粒子大小不同分离混合物:如丝网分离和超滤分离。气体分子间距大,液体分子间距小,使得气体颗粒小于液体颗粒,从而达到分离目的。
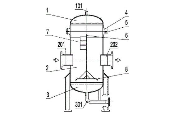
饱和气体在冷却或加压过程中,部分可凝气体成分会形成小液滴,随气体一起流动。气液分离器的作用,就是处理含有少量凝液的气体,实现凝液回收或气相净化。其结构通常为压力容器,内部设有相关进气部件和液滴捕集部件。一般情况下,气体从上部出口排出,液相从下部收集。

