气液分离器的原理及用途
气液分离器是一种利用气体与液体在压力差作用下进行分流的装置,它广泛应用于石油、化
不锈钢储罐气液分离器的工作原理
不锈钢储罐气液分离器可安装在气压机出入口进行气液分离,分馏塔顶冷凝冷却器后气相除
影响旋风分离器效率的因素有哪些?
旋风除尘器的除尘效率与尘粒的粒径有关。粒径越大,效率越高。当粒径达到一定值时,旋
为什么你的分离器总是堵塞?
今天我们将分析一些分离器堵塞的情况。众所周知,空气压缩机的分离器可以在没有沉积物
旋风分离器的作用不是你想的那样简
不要认为一台冷干机就可以解决所有问题!其实在冷干机或者吸干机的前后端,都应该安装
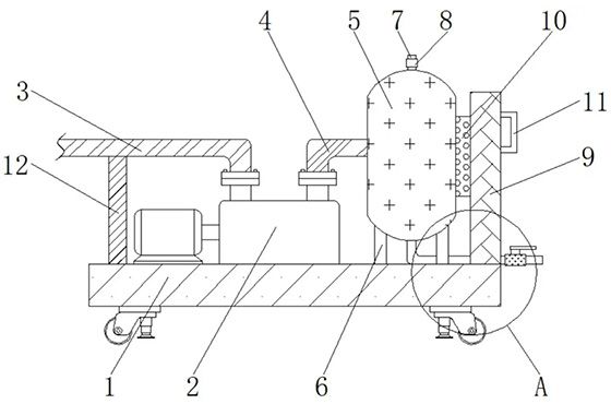
气液分离器的实际应用
气液分离器有多种的分离方法和结构,其中包含有丝网分离、超滤分离、以及离心力分离等
气液分离器是什么?如何设计、使用
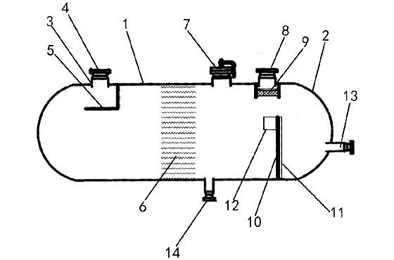
一、什么是气液分离器?制冷系统作为一个整体除了四大件(压缩机、冷凝器、节流装置、
旋风分离器可以分为哪几类?
旋风分离器是一种广泛应用于生活各个行业的工业设备。它可以分离气体,去除杂质,并均
