气液分离器分离效率低的原因是什么
气液分离器是一种常见的用于将气体和液体分离的设备,其工作原理是通过惯性、重力和惯
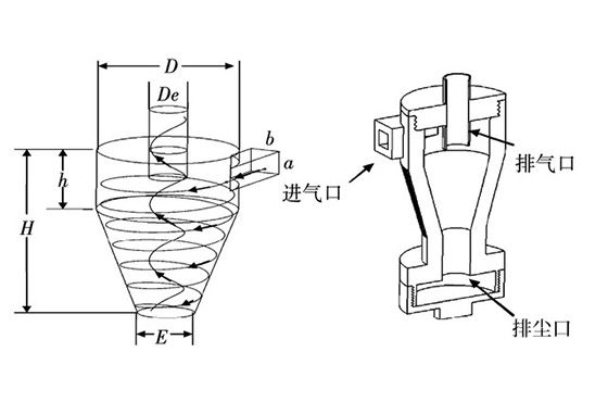
旋风分离器的工作原理及应用
旋风分离器是一种用于分离固体粒子和气体的设备,其基本原理是使用旋转流动的力学方式
旋风分离器的临界粒径与哪些因素有
旋风分离器是一种常用的固液分离设备,广泛应用于化工、矿山、冶金等领域。其主要优点
油气分离器到底是什么?
油气分离器的作用是分离曲轴箱排出的油,减少从曲轴箱呼吸口排出到发动机外的油。一般
旋风分离器可应用于哪些工程?
旋风分离器适用于净化大于1-3微米的非粘性、非纤维的干燥粉尘。它是一种结构简单、
旋转分离器是否需要点检?
答案是:要的。旋风分离器需要定期点检和维护。定期点检可以保证旋风分离器的正常运行
旋风分离器在工业吸尘器中的作用和
工业吸尘器的旋风分离器是一种利用离心力分离气流中的固体颗粒或液体的设备。这种设备
环流式旋风分离器的工作原理及结构
环流式旋风分离器是20世纪70年代发展起来的一种新型气固分离设备,它由旋筒、锥体
