天然气过滤分离器的工作原理
天然气过滤器主要由一级旋风分离器、二级惯性除沫器预滤和凝聚、三级精滤芯凝聚、排污
两相分离器有哪些性能优势?
两相分离器的作用就是在一定压力和温度下把油井液流分离为气相和液相。下面就跟大家说
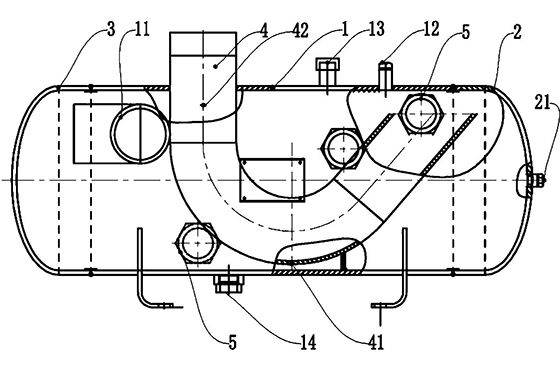
两相分离器的工作原理是什么?
两相分离器也称为气液两相分离器。顾名思义,当不需要将复杂的液相组分彼此分离时,它
气液分离器均压孔的设计
气液分离器出口管的均压孔径是按以下计算的:均压管孔径面积(mm2) = 出口管外
气液分离器回油孔的设计
气液分离器基本上是把从蒸发器返回到压缩机的冷媒分离成气体和液体,仅使气体回到压缩
气液分离器的两个作用
气液分离器的两个作用:01)、把从蒸发器返回到压缩机的冷媒分离成气体和液体,仅使
气液分离器在压缩机中的应用
气液分离器,从它的名称本身含义也不难理解,它是气体和液体分离的装置。同样,从装置
如何选择合适的气液分离器
从气液分离器的要求来看,就要求其能将气体与液体尽可能分离,经过气液分离器之后,液
