解决旋风分离器排料口窜气、返混问
旋风分离器作为一种高效的气固分离设备,广泛应用于化工、冶金、电力、建材等工业领域
旋风分离器堵塞的现象、原因及预防
旋风分离器作为一种利用离心力实现气固分离的关键设备,广泛应用于化工、电力、冶金、
如何平衡旋风分离器处理量与分离效
旋风分离器的处理量(即单位时间内处理的含尘气体流量)与分离效率(即被捕集的粉尘质
MCS多管旋风分离器的应用场景有
在工业生产的物料分离与尾气净化环节,MCS多管旋风分离器凭借其结构紧凑、分离效率
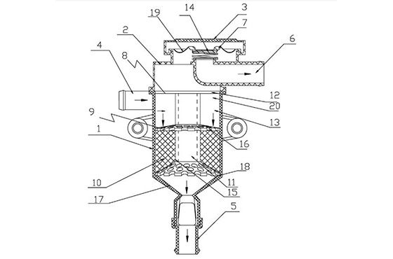
MCS多管旋风分离器工作原理是什
在工业烟气净化、粉尘回收的核心环节,MCS多管旋风分离器凭借“高效、稳定、低耗”
旋风分离器的分离效率与什么有关?
旋风分离器作为工业生产中应用较为广泛的气固分离设备之一,其分离效率直接决定了后续
不同材质的旋风分离器适用于哪些工
旋风分离器作为工业生产中粉尘分离与气体净化的关键设备,其运行稳定性与分离效率的核
如何确定旋风分离器的安装空间是否
一、安装空间确定的核心原则旋风分离器的安装空间是否合适,直接影响分离效率、运行稳
