气液分离器分离的液体去哪了?
发表日期:2024-07-01 15:59:44
浏览量:1957
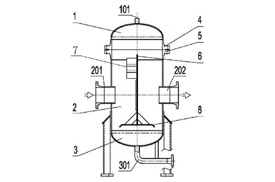
气液分离器分离的液体主要流向了以下几个方向:
1、回油孔:一部分液体通过气液分离器的回油孔被回收。在气液分离器的工作过程中,由于液体密度大于气体,它们会在分离器底部沉积形成液池或液相收集区。这部分液体随后通过回油孔排出,以进行后续处理或回收。
2、压缩机:另一部分液体被压缩机吸走。在某些情况下,特别是当气液分离器与压缩机系统相连时,分离出的液体可能被压缩机吸入,并作为系统的一部分进行循环或进一步处理。
3、排放或回收:对于不再需要或无法再利用的液体,它们可能会通过专门的排放管道进行排放。而对于有价值的液体,如某些化工产品,它们可能会通过专门的回收系统进行回收,以便后续再利用。
需要注意的是,气液分离器的具体设计和应用环境会影响液体的流向和处理方式。例如,在一些特殊的应用中,可能需要使用额外的设备或系统来进一步处理或回收分离出的液体。
此外,气液分离器的分离效率也是影响液体流向的重要因素。由于分离器的分离效率不可能达到100%,因此在实际应用中,可能会有少量的液体残留在气体中,这些液体需要在后续的处理过程中进行进一步的分离和回收。
综上所述,气液分离器分离的液体主要流向了回油孔、压缩机以及排放或回收系统。具体的流向和处理方式取决于气液分离器的设计、应用环境以及液体的性质和价值。

