气液分离器:工业中不可或缺的重要设备
发表日期:2023-12-12 09:36:02
浏览量:5457
在工业生产和加工过程中,气体和液体的分离是一个至关重要的环节。气液分离器作为一种关键设备,在各种工业领域中扮演着不可或缺的角色。本文将介绍气液分离器的原理、应用领域以及其在工业生产中的重要性。
一、气液分离器的原理与结构
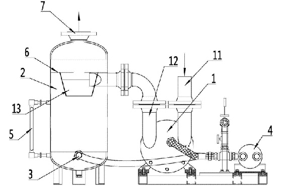
气液分离器是一种能够有效分离气体和液体的装置。其基本原理是利用物理或化学方法,通过改变流体的流动状态和速度,使气体和液体分离开来。气液分离器通常由进口、分离腔、出口等部分组成,其内部结构设计合理,能够有效地实现气液分离的功能。
二、气液分离器的应用领域
气液分离器广泛应用于石油化工、化工、制药、食品加工、电力等行业。在石油化工行业中,气液分离器用于天然气净化、油气分离、油水分离等过程;在化工领域,气液分离器用于反应釜、蒸馏塔等设备中,进行气液相分离;在食品和制药工业中,气液分离器则用于液体过滤、除气等工艺中。
三、气液分离器在工业生产中的重要性
气液分离器在工业生产中具有重要的意义。首先,它能够帮助保护设备,防止气体或液体进入到不应该存在的区域,延长设备的使用寿命;其次,气液分离器能够提高生产效率,保证产品质量,减少生产过程中的故障和事故发生,从而降低生产成本,提高生产效益;最后,气液分离器还对环境保护起着积极的作用,减少了有害气体和液体的排放,保护了环境。
综上所述,气液分离器作为一种重要的工业设备,在工业生产中发挥着不可替代的作用。随着工业技术的不断发展和进步,气液分离器将会在更多领域得到应用,并发挥更大的作用。

